La ITC ha reso noti i brevetti che Google/Motorola ritiene siano stati violati da Apple e utilizzati in diversi iDevice.
I brevetti incriminati sono sette e tutti sarebbero stati implementati da Apple nei propri dispositivi senza il consenso di Motorola prima e di Google ora. La stessa Google ha chiesto alla ITC (la Internazional Trade Commission degli Stati Uniti) di interrompere le importazione dalla Cina di quasi tutti i prodotti della Mela nel territorio USA, ed è stata proprio la ITC a rendere ora nota la natura di tali brevetti.
Tali brevetti riguardano le tecnologie legate alla comunicazione fra i vari dispositivi, ma anche l’assistente vocale di Apple “Siri”. Uno dei brevetti, ad esempio, riguarda la messaggeria geografico-temporale, che riesce a contestualizzare nel tempo e nello spazio i messaggi ricevuti dagli utenti; un altro si riferisce ai servizi interattivi e al linguaggio di marup e riguarda le parole chiave usate da un utente per comunicare con il dispositivo, attraverso il riconoscimento vocale. Si tratta, però, di brevetti molto generici, che molto probabilmente verranno considerati tali dalla ITC senza alcuna pena per Apple.
Piccola curiosità a margine: lo studio legale che fa gli interessi di Google/Motorola è lo stesso che si sta occupando di difendere Samsung contro le accuse di Apple. Infine, ecco il testo ufficiale dei brevetti che Google ritiene siano stati violati da Apple:
U.S. Patent No. 5,883,580 for “Geographic-Temporal Significant Messaging”
Non-Technical Description of the ‘580 Patent
The ‘580 Patent generally relates to messaging devices that process messages logically for a user in the context of space and time. The patend discloses, inter alia, a method and apparatus for receiving messages having a relevency status (e.g., a location identifier) and processing the messages when the relevancy status changes.The ‘580 patent has not been the subject of previous domestic or foreign litigation.
U.S. Patent No. 5,922,047 for “Apparatus, Method And System for Multimeda Control And Communication”
Non-Technical Description of the ‘047 Patent
The ‘047 Patent generally relates to communications and control systems for multimedia. In particular, the ‘047 Patent discloses, inter alia, an apparatus and method for providing control functions over multiple and diverse media applications, preferably operating at more than one designated node or location.The ”047 patent has not been the subject of previous domestic or foreign litigation.
U.S. Patent No. 6,425,002 for “Apparatus and Method for Handling Dispatchin Messages for Various Applications of a Communication Device”
Non-Technical Description of the ‘002 Patent
The ‘002 Patent generally relates to communications devices that ensure applications installed therein only receive messages that are of interest. The patent discloses, inter alia, a message manager program for accepting and dispatching messages, application program(s) for handling and presenting messages, and message client program(s) that receive messages from the message manager program and provides them to the application program.The ‘002 patent has not been the subject of previous domestic or foreign litigation.
U.S. Patent No. 6,493,673 for a “Markup Language For Interactive Services And Methods Thereof”
Non-Technical Description of the ”673 Patent
The ‘673 Patent generally relates to communications devices that are capable of providing interactive services. The patent discloses, inter alia, providing [a] prompt element including an announcement to be read to a user, and an input element that allows an audible user in put to be converted into a text string.The ‘673 patent has not been the subject of previous domestic or foreign litigation.
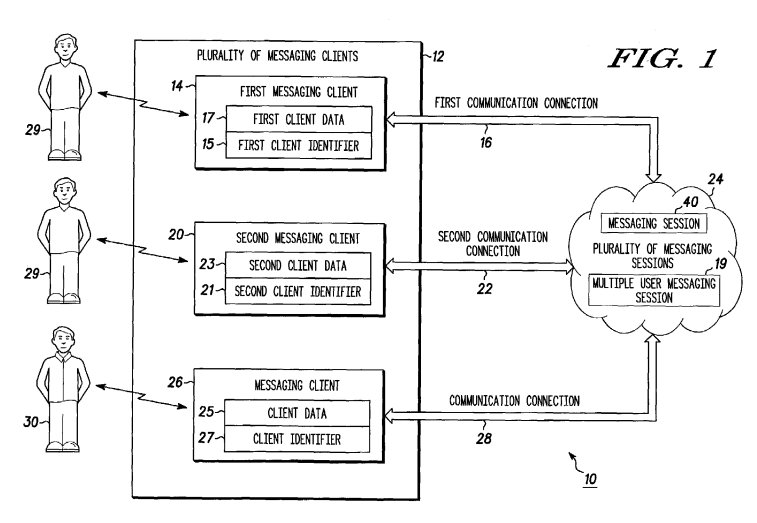
U.S. Patent No. 6,983,370 for a “System for Providing Continuity Between Messaging Clients And Method Therefor”
Non-Technical Description of the ‘370 Patent
The ‘370 Patent generally relates to communications systems incorporating capabilities to provide continuity between messaging clients. More specifically, the ‘370 Patent relates to the ability to sync the messaging capabilities of multiple devices.On or about November 10, 2010, Motorola Mobility filed a complaint in the United States District Court for the Southern District of Florida based on, inter alia, the alleged infringement of the ‘370 patent by Microsoft Corporation in the Motorola Mobility, Inc. v. Microsoft Corporation. That case was later transferred to the United States District Court for the Western District of Washington on or about August 25, 2011 and is pending before that court. There has been no foreign litigation involving the ‘370 patent.
U.S. Patent No. 7,007,064 for “Method And Apparatus For Obtaining And Managing Wirelessly Communicated Content”
Non-Technical Description of the ‘064 Patent
The ‘064 Patent generally relates to wireless communications systems for providing content to wireless communication devices. In particular, the ‘064 Patent discloses, inter alia, an apparatus and method for obtaining and managing wirelessly communicated content.The ‘064 patent has not been the subject of previous domestic or foreign litigation.
U.S. Patent No. 7,383,983 for a “System And Method for Managing Content Between Devices In Various Domains”
Non-Technical Description of the ‘983 Patent
The ‘983 Patent generally relates to managing content between devices in various domains and, more particularly, to a system and method for pausing content in one device and resuming playback of the content in another device that may be in a different domain.
